交通运输部海事局第 17 号通告重磅发布,岸基值班、航次风险评估、高风险作业 “双把关” 三项工作指引正式施行,这些文件旨在为航运企业提供系统、可操作的管理规范,全面构建预防为主的安全管理体系。
HiFleet 新一代岸基值班点验系统应声上线,深度贴合海事指引,用AIS + 智能视频 + 气象 + 告警 + 风险五维融合,打造岸基智能值班 + 船舶风险管控全流程合规闭环,让安全管理数字化、智能化一步到位,帮助航运企业轻松实现安全管理的数字化、智能化转型!
六大核心模块,合规值守一步到位
平台采用大屏可视化设计,海图实时呈现船位,船队运行全貌一目了然,覆盖总预览、船舶点验、航行计划、船舶告警、设备状态、值班安排全场景需求。
1️⃣大屏总览监控|一屏掌控全局
· 船舶总数、在航 / 锚泊、设备在线率、今日告警数实时统计
· 全球海域可视化,支持亚洲 / 欧洲 / 太平洋 / 非洲快速切换
· 值班人员一眼掌握船队动态情况,决策更精准
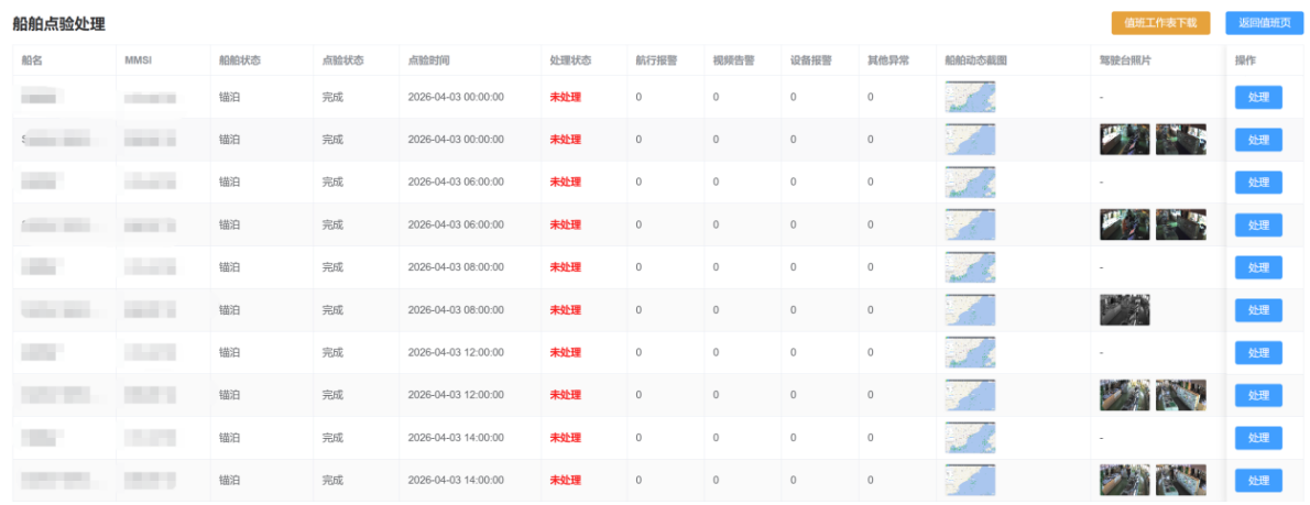
2️⃣自动船舶点验|夜间合规不踩线
· 支持固定 4 次 + 自定义点验,0/6/12/18 时默认触发,可灵活增删时段
· 自动生成点验清单,清单内容可定制,同步展示船舶动态、报警、风险、设备状态
· 自带实时船位截图 + 驾驶台视频抓拍,支持人工记录、附件上传
· 报表历史可查,支持一键导出,点验全覆盖、效率翻倍,完美匹配夜间高频次检查要求
3️⃣航线风险全景展示|风险前置早干预
· 自动解析计划航线,高亮提示商渔船碰撞区、碰撞多发区、航行警告区、台风 / 战争区、ECA 区、海洋保护区、冰区、桥梁区、港口气象预警
· 航线气象海况叠加:风、浪、涌全维度呈现
· 风险早发现、早提醒,助力航次风险评估闭环管理
4️⃣ 航行 + 视频一体化告警|违规行为秒锁定
· 统一展示航行告警 + AI 视频告警:吸烟、打电话、打瞌睡、玩手机、抵离港、航次变更、闯入风险区、超速等
· 支持筛选、查询、批量处理、数据导出,航向风险一键跳海图,视频风险直达监控界面
· 异常早干预、隐患快处置,筑牢驾驶台值班安全防线
5️⃣ 设备实时监控|在线状态全掌握
· 集中监控摄像头、DTU、传感器运行状态,快速定位异常设备
· 算法配置可视化,设备离线 / 故障即时告警,避免监控 “失明”
· 全程留痕,满足设备检查与维护监管要求
6️⃣灵活值班安排|24 小时值守不空档
· 支持多公司、多人员、多班次配置,自定义日期和时段、联系电话
· 建立规范值守机制,实现全天候、无死角岸基值班
· 责任到人、通讯畅通,应急响应快速高效
HiFleet 岸基值班监控平台,以智能协助人工、数据驱动管理,真正实现:
✅ 值班规范化:全流程贴合海事指引,满足管理需求
✅ 管控高效化:自动点验、智能告警、批量处理,减负增效
✅ 安全可视化:船位、风险、设备、告警一屏尽览
✅ 记录完整化:台账、视频、处置全程留痕,合规可查
无论是大型航运集团还是中小船公司,无需复杂改造、不用增加大量人力,快速落地海事三项指引要求,轻松完成安全生产主体责任落地!
📢 文末福利
现在咨询,即可获取免费试用名额!
让 HiFleet 做你的岸基值班安全管家,航行千万里,守护零距离!















